Шайба-гровер М27 DIN 127 B пружинная сталь цинк
Описание
Аналоги ГОСТ EN ISO могут иметь несущественные отличия.
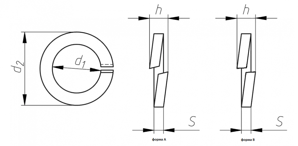
| Диаметр резьбы крепежа | d1 | d2 | s | h (форма A/ форма В) |
| М27 | 27.5 | 43 | 5 | 11 / 10 |
Характеристики
Тип изделия
Шайба
DIN
127
ГОСТ
6402-70
Размер резьбы M
М27
Материал
Пружинная сталь
Покрытие
Цинк
Класс точности
A
Форма
B
Артикул
1270027
Популярные товары
ЗАКЛЕПОЧНИК ABSOLUT SK100617 600 ₽
Заклепка резьбовая потайной бортик М31,79 ₽
ЗАКЛЕПОЧНИК AIRPRO SA890771 546 ₽Помощь
+7 (921) 878-54-94
Отдел продаж
Если у вас возникли вопросы при оформлении заказа, обратитесь по указанным контактам.
























































