Шайба М6 DIN 463 стальная цинк
Описание
Аналоги ГОСТ EN ISO могут иметь несущественные отличия в размере и/или характеристиках.
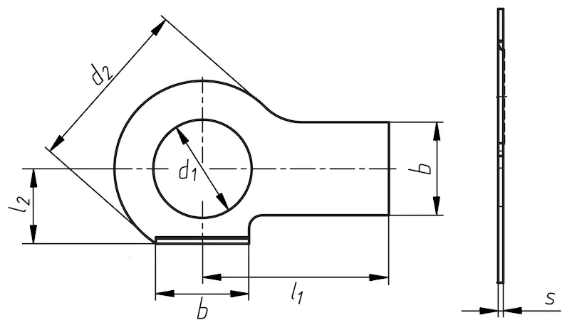
| Диаметр резьбы крепежа | d1 | d2 | b | l1 | l2 | s |
| М6 | 6.4 | 12.5 | 7 | 18 | 9 | 0.5 |
Характеристики
Тип изделия
Шайба
DIN
463
ГОСТ
13463-77, 13464-77
Размер резьбы M
M6
Диаметр, мм
6.4
Материал
Сталь
Покрытие
Цинк
Класс точности
A
Артикул
4630006
Популярные товары
ЗАКЛЕПОЧНИК ABSOLUT SK100617 600 ₽
Заклепка резьбовая потайной бортик М31,79 ₽
ЗАКЛЕПОЧНИК AIRPRO SA890771 546 ₽Помощь
+7 (921) 878-54-94
Отдел продаж
Если у вас возникли вопросы при оформлении заказа, обратитесь по указанным контактам.
























































