Заклепка вытяжная 3,2x10,5 Ал/сталь закрытая потайной бортик
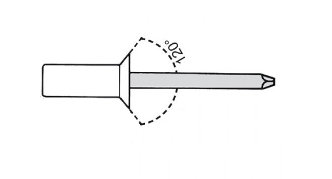
Преимуществом вытяжных закрытых заклепок с потайным бортиком является герметичное соединение и гладкая поверхность в месте крепления (бортик не выступает над материалом). Это достигается за счет закрытой формы изделия и прижимного (потайного) бортика. С лицевой стороны он плоский, а с обратной представляет собой скос под углом 120о, плавно переходящий в корпус заклепки.
Потайная заклепка идеально «садится» в подготовленное отверстие и после фиксации не нарушает рельеф поверхности. Закрытые потайные заклепки создают максимально жесткие и надежные неразъемные соединения твердых материалов. Их часто используют для крепления облицовки любых видов, фурнитуры, напольного покрытия в судостроении и других областях.
Данный тип заклепок используется для монтажа листовых материалов и плоских элементов конструкций в случаях, когда соединение должно быть эстетичным. Для установки вытяжной заклепки достаточно доступа к материалам с одной стороны и не требуется ровного установочного отверстия. Мягкий корпус заклепки легко развальцовывается и заполняет собой установочное отверстие, прочный стержень после вытягивания обрывается инструментом.
Аналог: 011130033210, 2-ASFC 32110, 5-ASFC 32110, HF2-32105, 12043210, 315 641.
Преимущества
- Простая и быстрая установка;
- Герметичное и незаметное соединение;
- После установки заклепки головка сердечника не выпадает из гильзы;
- Высокая прочность на вырыв и на срез;
- Скрепление разных типов материалов различной толщины;
- Высокая прочность и неразборное соединение служит защитой от вандализма;
- Устойчивость к вибрации;
- Возможность окраски в цвета по шкале RAL.
ЗАКЛЕПОЧНИК ABSOLUT SK100617 600 ₽
Заклепка резьбовая потайной бортик М31,79 ₽
ЗАКЛЕПОЧНИК AIRPRO SA890771 546 ₽




































































